Совершенствование размольного отделения Ново-Альжанского мукомольного завода в г. Актобе с увеличением производительности презентация

Слайд 1  Министерство сельского хозяйства Республики Казахстан Казахский агротехнический университет им. С. Сейфуллина   БАЙГАЗОВ НУРЖАН

КОБЕСОВИЧ

Проект совершенствования размольного отделения Ново-Альжанского мукомольного завода в г. Актобе с увеличением производительности до 300т/сут и выхода муки высшего сорта


Слайд 2
Ново-Альджанский мелькомбинат» – предприятие с 25-летней историей.ТОО "Ново-Альджанский мелькомбинат" является структурным

подразделением крупного объединения "ЗЕРНОВАЯ ИНДУСТРИЯ", которое представлено на рынке муки и макарон под торговой маркой "Granum" и было образовано в 1991 году на базе элеватора.

Слайд 3Адрес: 41 разъезд 9В, Актобе 030011


Слайд 4Исходные данные для дипломного проета  
Для выполнения дипломного проекта на тему:

«Проект совершенствования размольного отделения Ново-Альджанского мукомольного завода в г.Актобе с увеличением производительности до 300 т/сут и выхода муки высшего сорта» принимаем следующие исходные данные:
- место реконструкции – г. Актобе
- производительность- 300 т/сут;
- вид помола- хлебопекарный из зерна пшеницы;
- общий выход муки - 75%, в том числе:
- высший сорт – 40%;
- I сорт – 20%;
- II сорт – 15%;
-предусматривать в проекте оборудование итальянской фирмы «Окрим»


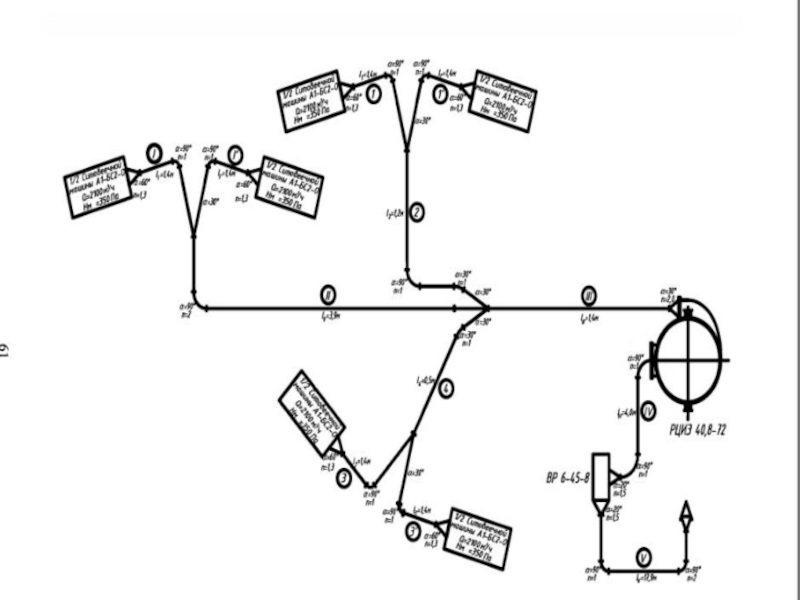
Слайд 5Предлагаемое совершенствование (реконструкция) позволит увеличить производительность до 300 т/сут с установкой

дополнительного оборудования, а увеличение выхода муки высшего сорта до 50% произведем за счет снижения выхода муки первого сорта до 20%, чему способствуют качественные показатели потоков муки, получаемых в размольном процессе.
При эксплуатации мукомольного завода необходимо ориентироваться на потребности рынка и определить свои задачи по выпуску готовой продукции с высокими качественными показателями и потребительскими свойствами. В большинстве случаев именно высокое качество муки определяет успех дела.


Обратная связь

Если не удалось найти и скачать презентацию, Вы можете заказать его на нашем сайте. Мы постараемся найти нужный Вам материал и отправим по электронной почте. Не стесняйтесь обращаться к нам, если у вас возникли вопросы или пожелания:

Email: Нажмите что бы посмотреть 

Что такое ThePresentation.ru?

Это сайт презентаций, докладов, проектов, шаблонов в формате PowerPoint. Мы помогаем школьникам, студентам, учителям, преподавателям хранить и обмениваться учебными материалами с другими пользователями.


Для правообладателей

Яндекс.Метрика