Процесс изготовления женских изделий платьево-блузочного ассортимента презентация

Содержание

Слайд 1Тема: Процесс изготовления женских изделий платьево-блузочного ассортимента
Общая схема сборки изделий платьево-блузочного

ассортимента.
Начальная обработка деталей.
Обработка карманов.
Обработка застежки.
Обработка воротников.
Обработка рукавов.
Обработка низа изделия.





Слайд 21. Общая схема сборки изделий
платьево-блузочного ассортимента


Слайд 3Схема процесса обработки изделий платьево-блузочного ассортимента с примеркой


Слайд 4Схема минимально необходимой степени готовности к примерке женской одежды платьево-блузочного ассортимента


Слайд 52. Начальная обработка деталей изделия
обработка срезов, вытачек,
выполнение различных складок и

отдельных швов,
соединение частей основных деталей,
обработка отделочных деталей и их соединение с основными деталями.

Слайд 6стачной шов взаутюжку
с обметанным срезом
стачной шов вразутюжку
с обметанным срезом
стачной шов взаутюжку
с

окантованным срезом,
выполненный с приспособлением

стачной шов вразутюжку
с окантованным срезом,
выполненный без приспособления


Слайд 7Обработка вытачек
а – заутюженная
б - разутюженная
в - разрезная


Слайд 8Обработка подрезов


Слайд 9Обработка кокетки


Слайд 10Обработка прорезных карманов
а – с клапаном,
б – с листочкой


с втачными концами

в – с листочкой
с настрочными концами

3. Обработка прорезных карманов


Слайд 11Обработка прорезного кармана с двумя обтачками
с прямым прорезом


Слайд 12 в – с фигурным прорезом
Обработка прорезного кармана с двумя обтачками
г

– для материалов большой толщины

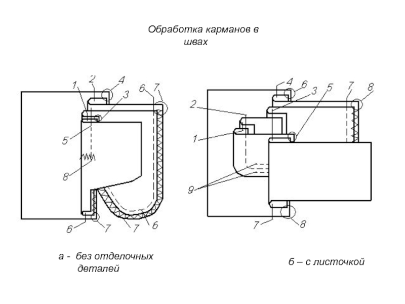
Слайд 13Обработка карманов в швах
а - без отделочных деталей

б – с листочкой


Слайд 14Обработка накладных карманов


Слайд 154. Обработка застежки
а – с помощью подборта
б – подкройной обтачкой


Слайд 16Обработка застежки в разрезе
настрочными планками
втачными планками


Слайд 17Обработка застежки планками
с настрочной планкой
с цельнокроеной планкой
с притачной планкой


Слайд 18Обработка застежки тесьмой-молнией


Слайд 19Обработка воротников
отложного
с цельновыкроенной стойкой;
с отрезной стойкой


Слайд 20Обработка отложного воротника
в изделиях с отворотами
соединенного с изделием
с помощью обтачки


отложного в изделиях
с застежкой доверху


Слайд 21Обработка низа рукава
обработка разреза
отложной
манжеты
притачной
манжеты
замкнутой
манжеты


Слайд 22Обработка низа изделия


Обратная связь

Если не удалось найти и скачать презентацию, Вы можете заказать его на нашем сайте. Мы постараемся найти нужный Вам материал и отправим по электронной почте. Не стесняйтесь обращаться к нам, если у вас возникли вопросы или пожелания:

Email: Нажмите что бы посмотреть 

Что такое ThePresentation.ru?

Это сайт презентаций, докладов, проектов, шаблонов в формате PowerPoint. Мы помогаем школьникам, студентам, учителям, преподавателям хранить и обмениваться учебными материалами с другими пользователями.


Для правообладателей

Яндекс.Метрика