Буксовый узел электровозов ВЛ10 и ВЛ11 презентация

Слайд 1Буксовый узел электровозов ВЛ10 и ВЛ11
Корпус буксы
Поводки
Лабиринтное кольцо
Задняя крышка буксы

Наружные кольца

подшипников
Внутренние кольца подшипников
Малое дистанционное кольцо
Большое дистанционное кольцо

Прижимное кольцо
Контргайка
Стопорная планка
Болты М16

Корпус поводка
Сайлент-блоки
Резинометаллические шайбы
Валики


Слайд 2Буксовый узел электровозов ВЛ10 и ВЛ11


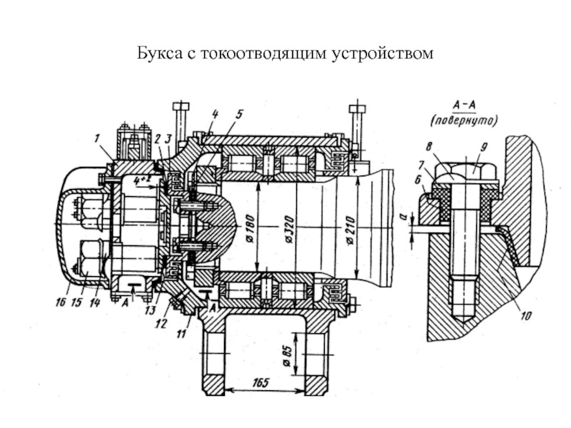
Слайд 3Букса с токоотводящим устройством


Слайд 4Букса с тахогенератором


Слайд 5Букса электровоза ЧС2


Обратная связь

Если не удалось найти и скачать презентацию, Вы можете заказать его на нашем сайте. Мы постараемся найти нужный Вам материал и отправим по электронной почте. Не стесняйтесь обращаться к нам, если у вас возникли вопросы или пожелания:

Email: Нажмите что бы посмотреть 

Что такое ThePresentation.ru?

Это сайт презентаций, докладов, проектов, шаблонов в формате PowerPoint. Мы помогаем школьникам, студентам, учителям, преподавателям хранить и обмениваться учебными материалами с другими пользователями.


Для правообладателей

Яндекс.Метрика